Giới thiệu về Van giảm áp ARV Malaysia.
Van giảm áp ARV ( PRESSURE REDUCING VALVE – APR 700) được nhập khẩu từ Malaysia với thương hiệu Van ARV là giải pháp tốt nhất để đảm bảo thiết bị trên đường ống. Van thường được lắp đặt tại phòng bơm, trên các trục cấp nước của tòa nhà,…Với ưu điểm của van là hoạt động êm không gây tiếng ồn, khả năng tự điều chỉnh áp lực đầu ra chính xác. Ngoài ra hệ thống được vận hành bằng Pilot nên sẽ dễ dàng trong quá trình điều chỉnh và điều chỉnh một cách chính xác nhất.
Van giảm áp hoạt động dựa trên thủy lực và có thể dễ dàng cài đặt áp suất đầu ra theo ý muốn sao cho áp đầu ra nhỏ hơn áp đầu vào. Thông thường các cụm van giảm áp Malaysia thường được lắp đặt 10 tầng 1 cụm sẽ tương đương với cột nước 30-35m tương ứng là áp chênh sẽ là 3 – 3.5 Bar. Ở trên các cụm thường lắp đặt van chặn đường trước và sau van để cho quá trình điều chỉnh van giảm áp cũng như bảo trì được dễ dàng.
Khách hàng vẫn đang quan tâm là áp tĩnh hay áp động sẽ ảnh hưởng trực tiếp đến đường ống. Vì quá trình vận hành chiếm rất ít nên chúng ta thường quan tâm đến áp tĩnh hơn vì vậy khi điều chỉnh áp đầu ra sẽ dựa vào chỉ số của áp suất khi không hoạt động.
Một số lưu ý khi lắp đặt van giảm áp ARV Malaysia:
- Trước khi lắp đặt van giảm áp cần vị sinh sạch sẽ đường ống. Nhà sản xuất luôn khuyến cáo với khách hàng là nên lắp đặt y lọc (Xem thêm cấu tạo của Y lọc tại đây) để tránh trường hợp xỉ hàn hay cặn bẩn kẹt vào lá van làm cho van sẽ xảy ra hiện tượng thông van tức là áp suất đầu vào bằng áp suất đầu ra.
- Trên hệ thống dẫn động của van có 2 van NEED (Van khóa màu đỏ) phải được mở ra và sau khi lắp đặt và điều chỉnh Van giảm áp ARV thì cần phải dùng cà lê xiết chặt ốc đai ốc trên pilot để trong quá trình vận hành không bị lỏng ra làm áp suất không chính xác.
Hướng dẫn điều chỉnh Van giảm áp ARV:
Trước khi cài đặt cần xả hết nước trên đường ống và tiến hành cho xả hết nước và xem áp suất trên đồng hồ nó là áp thể hiện đầu ra. Thông thường áp được cài đặt ở đầu ra trong khoảng từ 2 – 3 Kg. Tiến hành khóa van chặn sau van và điều chỉnh ốc trên cụm Pilot. Nếu vặn cùng chiều kim đồng hồ đai ốc thì van áp đầu ra sẽ tăng lên và vặn ngược chiều kim đồng hồ thì áp trên van sẽ được giảm xuống.
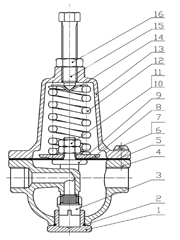
Cấu tạo Van giảm áp:
Cấu tạo về phần Pilot.
Cấu tạo của Pilot gồm 16 phần chính như sau:
Cấu tạo chi tiết Pilot của Van giảm áp ARV Malaysia.
| No | Part Name | Material | Standard |
| 1. | Screw Plug. | Stainless Steel | AISI304 |
| 2. | O-Ring. | Rubber | NBR |
| 3. | O-Ring. | Rubber | NBR |
| 4. | Body. | Stainless Steel | AISI304 |
| 5. | Diaphragm. | Nylon Reinforced Rubber | EPDM+ Fiber |
| 6. | Screw. | Stainless Steel | AISI304 |
| 7. | Washer. | Stainless Steel | AISI304 |
| 8. | Plate. | Stainless Steel | AISI304 |
| 9. | Hanger. | Stainless Steel | AISI304 |
| 10. | Nut. | Stainless Steel | AISI304 |
| 11. | Washer. | Stainless Steel | AISI304 |
| 12. | Main Spring. | Stainless Steel | AISI304 |
| 13. | Bonnet. | Stainless Steel | AISI304 |
| 14. | Spring Cover. | Stainless Steel | AISI304 |
| 15. | Bolt. | Stainless Steel | AISI304 |
| 16. | Nut. | Stainless Steel | AISI304 |
Thông số kỹ thuật của Van giảm áp ARV Malaysia:
- Hãng sản xuất: ARV (ARV VALVES – DENER HOLDINGS SDN BHD).
- Xuất xứ: Malaysia (31-1 Taman Miharja Phase 3B, Jalan 3/93, 2 1/2 Miles Cheras 55200 Kuala Lumpur).
- Model: APR 700, APR 710.
- Tiêu chuẩn thiết kế: BS5163-2, EN1074-5.
- Kết nối bích tiêu chuẩn: BS EN 1092-2, ISO 7005-2.
- Áp suất làm việc: 0 – 16 Bar.
- Nhiệt độ làm việc: 0 ~ 80ºC.
- Kích cỡ: DN50, DN65, DN80, DN100, DN125, DN150, DN200, DN250, DN300.
- Vật liệu: Thân bằng gang cầu GGG40.
Chúng tôi hân hạnh là nhà phân phối Van ARV tại Việt Nam. Giá van giảm áp ARV Malaysia chúng tôi luôn cạnh tranh tốt hơn các thương hiệu khác bởi chúng tôi là đơn vị nhập khẩu với số lượng lớn. Bên cạnh đó van được sản xuất trên dây chuyền hiện đại nhất tại Malaysia. Nên Van ARV vẫn là thương hiệu chất lượng và giá thành cạnh tranh tốt hơn so với các thương hiệu khác. Quý khách cần báo giá cũng như Catalogue van giảm áp arv vui lòng liên hệ với chúng tôi.
Ưu điểm van giảm áp arv malaysia
- Dễ dàng sử dụng và bảo trì do xuống cấp đơn giản
- Hoạt động trong phạm vi áp suất rộng
- Điều chế hoàn hảo ngay cả ở tốc độ dòng chảy thấp hơn
- Đóng và mở chống tăng áp với màng ngăn linh hoạt
- Độ kín hoàn toàn nhờ màng chắn gia cố và lò xo bên trong
- Tuổi thọ cao với lớp phủ epoxy-polyester
- Phạm vi ứng dụng điều khiển rộng bằng cách sử dụng các van thí điểm khác nhau
- Hoạt động ở cả vị trí ngang và dọc trong khu vực ứng dụng
- Không cần thêm năng lượng bằng cách chạy trên mạng áp lực
- Điều chỉnh dễ dàng và bằng không đối với áp suất giảm
- Giảm áp suất mà không bị ảnh hưởng bởi áp suất và thay đổi dòng chảy trong mạng
- Bật / tắt thủ công
- Bảo trì dễ dàng cung cấp giảm áp suất tối thiểu và miễn phí khi mở van ở lưu lượng yêu cầu.
- Dễ dàng sử dụng và bảo trì trong hoạt động trong một thời gian dài do nó thành phần chống ăn mòn.
- Thực hiện điều chế nguyên thủy trong các luồng biến đổi và thậm chí lưu lượng quá thấp tỷ lệ gần bằng không.
- Cả bên trong và bên ngoài được phủ bột nhựa epoxy. Epoxy độ dày lớp phủ epoxy = 300




Đánh giá
Chưa có đánh giá nào.